独家 | 感恩基金会“一校一梦想”商标权被侵犯?专家:公益组织应全面加强知识产权保护工作
2021端午节放假第一天,当所有人沉浸在假日的氛围中时,北京感恩公益基金会发布的一篇名为《三星中国,你以为删除了就没事了吗?你必须为“伪公益”道歉》的文章在朋友圈内迅速发酵,并引发了一轮讨论。

文章的大致内容为:三星(中国)投资有限公司(下称三星)未经北京感恩公益基金会(下称感恩基金会)授权,在其官方微博及线下场景中,擅自使用“一校一梦想”名称开展带有商业传播性质的传播活动,并宣传“一校一梦想”是由其发起的公益项目。然而,该项目是由感恩基金会于2015年5月发起,并在第一时间对“一校一梦想”进行了相关知识产权和使用权利的注册登记。对于三星的侵权行为,感恩基金会第一时间发函并要求其停止侵害,并承认错误公开赔礼道歉。
为此,《公益时报》记者第一时间联系了感恩基金会、三星和中国青少年发展基金会(下称中国青基会)三方了解相关情况,但截至记者发稿并未获得三星、中国青基会的正式回应。
“侵权事件”的来龙去脉
作为此次事件的“主角”之一,北京感恩公益基金会是2012年5月在北京市民政局注册的基金会。基金会品牌项目“一校一梦想”是2015年5月由北京感恩公益基金会、21世纪教育研究院、农村小规模学校联盟联合发起,旨在全国范围内帮助农村小规模学校解决个性化困难,同时提升乡村教师社会资源组织等综合能力。
为了解事件的具体情况,《公益时报》记者第一时间与感恩基金会发起人、理事长周健取得了联系,他向记者介绍了事情的来龙去脉:
2021年6月1日,感恩基金会微信公号后台有网友留言反映,在网上看到相关稿件描述“一校一梦想”是由三星发起的公益项目;
同日晚上,“三星中国”和“三星电子”官方微博同步发布了多条三星助力“一校一梦想”的活动公告及定制海报;
6月5日,“三星中国”和“三星电子”再次在官方微博发布新闻稿件,称6月2日三星走进天津市三星希望小学,携手中国青基会共同发起“一校一梦想”公益活动;
6月7日,感恩基金会在北京市方圆公证处做了事实公证,并拿到具有法律效力的公证书;
同日,感恩基金会给“三星中国”和“三星电子”分别发函希望停止侵权,随即,三星删除了微博上所有与“一校一梦想”有关的新闻稿件;
6月9日,感恩基金会拨通三星在官网登记的电话,接电话的工作人员反馈会安排相关部门解决。再拨通官网登记的另一个电话,得到的反馈是该电话为三星外包的话务;
6月12日,感恩基金会在“一校一梦想”官方微信发布名为《三星中国,你以为删除了就没事了吗?你必须为“伪公益”道歉》的文章。
6月14日晚,未收到三星任何回应后,感恩基金会发起人、理事长周健在其个人公号“周健野谈”发布文章《端午节、三星以及三星堆究竟哪些是韩国的原创?》对三星侵权“一校一梦想”再次进行说明和追问。
针对周健的描述,《公益时报》记者第一时间联系了三星和中国青基会对相关事实进行确认,然而,多次致电、发微信消息至三星宣传部门的工作人员,均未收到任何回应。随即记者联系了三星公益板块高级总监孙贵峰,他回应说:“不负责公益业务已有三年时间,会帮忙对接公益或品牌宣传部门。”
为了多方求证事实,记者又多次致电三星企业社会责任事务局高级总监崔冉,对方同样表示:“集团公益板块内容有分工,该项目不在其管理范围内,因此无法接受采访,会帮忙对接相关部门。”
随后,记者又微信联系了中国青基会相关工作人员进行情况核实,该工作人员表示假期结束后将第一时间请示相关领导对该事件的回应,届时将第一时间联系《公益时报》记者。
截至记者发稿前,记者再次联系三星和中国青基会,三星方未做出任何回应;前述中国青基会工作人员表示上午领导在外开会,回来后将继续跟踪。
法律专家称:三星侵权成既定事实


据周健介绍,“一校一梦想”成立后第一时间在国家商标局进行了相关知识产权和使用权利的注册登记,登记类别为41类、36类,商标注册用于公益慈善类,其有效期为10年,有效期至2026年8月27日。


周健表示:“中国三星”及“三星电子”官方微博早前发布的关于助力“一校一梦想”活动的内容截图已在公证处做了公证证据
这样一个注册登记过版权和商标权的公益项目,今年六一儿童节前后在“中国三星”、“三星电子”的官方微博上曾多次出现,并用于公益慈善类活动。
周健告诉《公益时报》记者,在6月7日感恩基金会给三星发函前,“中国三星”、“三星电子”的官方微博上曾发布多篇关于三星助力“一校一梦想”活动的相关文章,并有多个大V账号均在相近时间进行了转发。却在收到感恩基金会的维权告知函后第一时间删除了微博上所有关于“三星助力一校一梦想”相关字眼。

目前在微博上搜索“三星助力一校一梦想”相关字眼已搜不到任何信息
经多方联系没有实质回应后,《公益时报》记者采访了北京致诚社会组织矛盾调处与研究中心的执行主任、律师何国科,何国科告诉《公益时报》记者,“一校一梦想”项目已经注册登记了知识产权,其商标注册的类别为公益慈善类,而三星在未经过感恩基金会同意授权的情况下使用了该商标并用在了公益慈善类别,由此可以认定三星构成了侵权。
北京天驰君泰律师事务所资深律师谷子丰的观点与何国科的观点高度吻合,谷子丰认为,三星在未经过感恩基金会授权使用“一校一梦想”商标的情况下,随意使用该商标开展公益慈善类活动,可以确定侵犯了感恩基金会相关的知识产权。
据谷子丰介绍,知识产权包含的种类有版权、商标权等,版权也叫著作权,公益组织涉及的版权包括:机构开发的课件,设计的图片、设计的形象,各种开发的课程,撰写的报告,研究的成果等等;商标权是商标所有人对其商标所享有的独占的、排他的权利。无论是版权还是商标权都需要权利人的授权方可使用,否则都属于侵权行为。
感恩基金会表示:必要时将拿起法律武器
周健对《公益时报》表示:“我们的本意是希望用一个友好的方式把这件事解决,但三星拒不回应的态度让我们感到很遗憾。如果接下来三星还是持续不做回应的话,我们将拿起法律武器”。


如果三星持续不做任何回应,谷子丰给出的建议是:感恩基金会可以通过律师事务所正式给三星发函,明确侵权行为已经产生,必须停止侵害,若拒不配合将采取法律的诉讼措施,通过司法途径解决。这一做法一方面可以锁定诉讼时效,一方面可以起到警示作用。
那么,在明确了侵权的既定事实后,三星具体应该承担哪些责任呢?何国科告诉《公益时报》记者,按照商标法及侵权责任法,侵权需要承担的责任方式有:
第一、 停止侵害,停止进行任何下一步侵害;
第二、 排除妨碍,删除已经发布的相关内容;
第三、 赔偿损失,侵权以后如果给基金会品牌造成损失,三星需要赔偿相应的损失,损失数额由基金会做举证;
第四、 赔礼道歉,以口头或书面的方式承认错误并公开道歉;
第五、 消除影响,对基金会的项目品牌造成的影响需消除。

当被问及整个事件中国青基会是否需要承担相应责任时,何国科表示目前无法判定,因为不清楚中国青基会跟三星是否有内部协议,有没有具体合作?合作的内容是什么。相反,如果有足够证据证明“一校一梦想”是中国青基会跟三星共同发起,那么中国青基会也侵犯了该项目的商标权。如果中国青基会并未授权,也没有与三星合作的话,三星用这个名义事实上也侵犯了中国青基会的名称权。
公益组织应全面加强知识产权保护工作
事实上,在“一校一梦想”遭遇侵权之前,公益组织早前也发生过类似侵权案例。
2013年1月,中华社会救助基金会的品牌项目“爱心衣橱”遭遇了《东方今报》的侵权使用。最后在接到爱心衣橱发起人王凯的微博抗议后,《东方今报》发出致歉声明,称未在使用“爱心衣橱”四字前查询其是否注册商标,表示致歉,并强调“重名”完全是无心之过,绝非故意而为。尽管“爱心衣橱”的侵权事件很快得到解决,但同样的经历相信也能给“一校一梦想”侵权事件以启发。
在周健看来,此次侵权事件给他带来的启发有两方面:一方面是积极维护机构权益,给支持“一校一梦想”的捐赠人和企业一个交代,坚决维护公益组织共创的公益成果不被商业机构利用;另一方面也是对公益机构树立知识产权保护意识的一次有效提醒。
对此,何国科强调:公益组织应全面加强知识产权保护工作,清楚了解机构的权益具体包括哪些,如何开展权益保护。
第一、知识产权包含商标、版权、专利、商业秘密、合同等。公益组织应当对机构的产品、项目名称、LOGO、名号、口号等进行商标注册。重要的品牌项目,应该提前进行品牌规划,做好商标的检索。机构的网站、出版物,开发的课件,发明的产品等等,都应该及时申请版权或者专利;第二、公益机构拥有名称权,即便没做登记,一旦有企业或机构侵犯了名称权,可以第一时间进行维权;第三、机构的名誉权,若有人在网上随便发帖,虚假编造信息污蔑诋毁公益组织,机构应该第一时间站出来维护自身的名誉权;第四,在网络宣传或内部出版物,最好使用无版权的图库、征得所有权人同意,使用自身的作品等,避免出现使用素材、转载文章,搭配图片等而造成对他人版权的侵权事件。
对于何国科的观点,谷子丰表示赞同,她认为知识产权的保护应该放在最前端而不是放在事中或事后,一定要提前做好布局和准备。兵马未动,粮草先行,在成立机构或成立初期就应该考虑知识产权的问题。
据谷子丰介绍,当前国家在不断加强知识产权保护的力度,法院在判决时也在提高侵权赔偿的数额,由以往的填平式赔偿逐步转为惩罚式的赔偿。
因此,谷子丰给公益机构的建议是综合运用知识产权里面各个门类来进行交叉保护,因为知识产权包含的领域很丰富,比如包括字号、域名、竞争、技术、商业秘密,专利等等。提前做好对商标或品牌涉及到领域的布局,能够避免纠纷的产生,即便未来有纠纷产生,机构也能占主动权。
《公益时报》记者在采访某机构负责人时,得到的观点是没有注册商标的必要性,越多人用机构名号去做事,反而越能够促进机构宣传。
谷子丰对以上负责人的说法表示不认同,如果都能规范化运作还好,但如果用机构的名号去开展一些例如商业获利行为,或者募集敛聚钱财。这样的事情一旦发生,不仅损害了机构的品牌,还对公众造成了一个坏的印象。
为了对公益机构的商标注册情况做个基本摸底,《公益时报》记者通过登录“国家商标局商标查询网”对各家公益机构的商标注册情况进行了查询。


通过查询,《公益时报》记者发现,很多大型基金会都进行了相关的商标注册工作,其中注册商标比较多的基金会包括:中国青少年发展基金会(注册商标279个)、中国妇女发展基金会(注册商标149个)、中国扶贫基金会(注册商标86个)等。


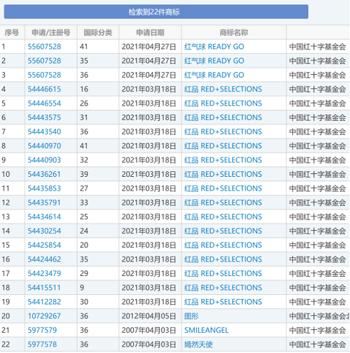
中国红十字基金会(注册商标22个)、中国残疾人福利基金会(注册商标10个)等基金会虽然注册了相应的商标,但从基金会的项目数量及规模来看,还有很大提升空间。
中国华侨公益基金会、中华环境保护基金会、中华教育文化基金会、河仁慈善基金会、阿拉善生态基金会、中国生物多样性保护基金会、北京慈弘慈善基金会等则没有查到相应的商标注册信息。
基金会等社会组织在知识产权保护方面还有很远的路要走。
《公益时报》将持续关注此次事件的发展情况。